原创声明
本站所有案例均为推来客网络定制开发设计
任何个人,公司不得擅自盗用!
一经发现,将追究法律责任!
请尊重原创开发劳动成果!
创新的优化体验设计·创造更大商业价值
这是给成都中铁五局开发的材料管理系统,客户本身现在有有一套管理系统在用,但是无法满足个性化的一些使用需求,找到我们是想解决个性化使用需求,经过技术验证测试,原有的属于加密的软件而且不提供开源,所有最后决定开发一套基于BS架构的材料管理系统。
这套系统逻辑还是很复杂的,材料自动极端比重、分销、单价、成分、净值、阈值等。到达设定的参数,自动触发不动的动作。材料盘点、根据设设定的规则自动进行摊销、不同批次的材料摊销值都不一样、不同批次的材料进、销、存的管理和材料在不同仓库之间的调用等。逻辑上算是很复杂的了。
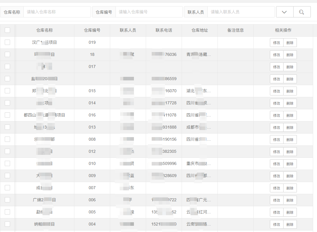
仓库管理:后台可以自己创建仓库,录入仓库的编号、联系人员、联系短话、仓库地址、对仓库的修改、删除操作。支持对多仓库的查询和筛选操作。

供应商管理:因为材料分为很多种类,一个种类的材料对应多个供应商,所有这里对供应商进行了编号,一个供应商可以对应多个材料,一个材料也可以对应多个供应商。都是属于多对多的关系。

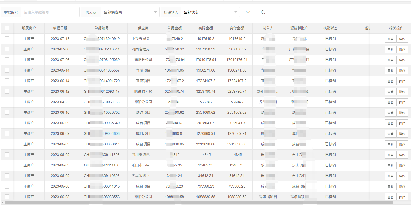
购货核销单管理:可以按照编号、供应商和核销状态进行查询,列表显示已核销订单的详细信息,编号、供应商、单据金额、实际金额、实付金额等信息。

库存查询:可以针对不同材料查询对应仓库的库存信息,显示材料的详细信息,比如比重、总量、库存、所所仓库、材料分类信息等,支持对库存进行导出操作。

库存盘点:库存盘点分为自动盘点和手动盘点,可以显示物资名称、当前库存、比重、重量、商品批次、成分、单价、净值、所属仓库、商品标号等,可以对盘点的商品信息一键导出。

库存预警:针对某一个商品,可以设置库存预警信息,当这个商品达到的设定值后,仓库管理员会自动收到短信提示,方便仓库管理员实时掌握蔡材料的库存信息。

商品管理:这里的产品就是材料,可以新增商品、设置商品的属性、参数等,还可以对材料进行修改和删除操作。

因为本系统功能还多,就不一一做阐述了,如果你也需要了解材料管理进销存系统,可以联系网站客服人员进行详细沟通!